Tunisie-Tribune (Samsung) – Samsung a imaginé un étonnant smartphone équipé de 6 capteurs photo capables de pivoter. D’après un nouveau brevet, le constructeur sud-coréen travaille en effet sur une nouvelle technologie permettant de révolutionner la photographie sur mobile.
En décembre 2019, Samsung a déposé le brevet d’une « méthode pour faire fonctionner plusieurs appareils photo pour la photographie numérique » auprès de l’Organisation mondiale de la propriété intellectuelle, rapportent nos confrères d’Android Police. Le brevet, accompagné de nombreux schémas et de pages d’explications, a été publié sur le site de l’organisme il y a quelques jours.

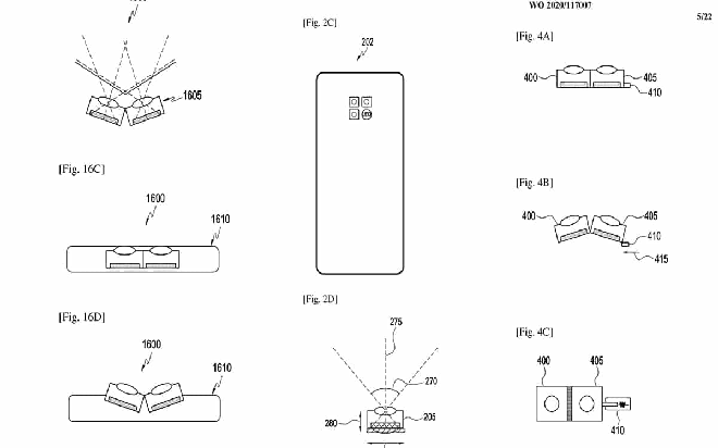
Concrètement, le brevet décrit un smartphone équipé d’un appareil photo dorsal composé de 6 capteurs inclinables (cinq appareils photo grand angle et un téléobjectif). Chacun des modules est inclinable indépendamment des autres par rapport à son axe d’origine. En clair, les capteurs à gauche et à droite peuvent être inclinés vers les bords tandis que les capteurs centraux peuvent rester droits, et vice-versa.
Chaque capteur va enregistrer une prise de vue différente. Ensuite, chaque plan capturé par les 6 capteurs sera combiné afin de créer une image de haute qualité. Pour assurer le fonctionnement optimal de cette étape, Samsung s’appuie sur des algorithmes dopés à l’intelligence artificielle.
Les avantages des capteurs photo pivotants selon Samsung
D’après Samsung, les avantages de cette configuration sont multiples. Le fabricant évoque notamment la possibilité de capturer des panoramiques bien plus larges qu’avec un appareil traditionnel avec objectif ultra grand-angle. Selon Samsung, sa technologie va aussi permettre de capturer des images plus claires dans des conditions de faible luminosité. C’est l’un des fers de lance de Samsung et de la plupart des constructeurs depuis plusieurs années.
Enfin, les capteurs pivotants ont aussi des atouts dans le domaine de la vidéo. Toujours d’après le brevet de Samsung, l’appareil va permettre d’enregistrer des séquences avec plus d’amplitude avec une meilleure stabilisation de l’image. Quoi qu’il en soit, il ne s’agit actuellement que d’un brevet. Rien n’indique que Samsung envisage vraiment d’exploiter la technologie décrite dans les document. Que pensez-vous du projet de la firme ? On attend votre avis dans les commentaires.



























































